华为光通信新专利公布:可降低成本、增加功能
由 方应 分享
时间:
浏览:0
3月26日消息,据国家知识产权局官网,华为技术有限公司今日公布了一项名为“一种光模块、光通信设备及光通信系统“的专利,公开号CN117767976A。
专利摘要显示,本申请涉及光通信技术领域,尤其涉及一种光模块、光通信设备及光通信系统。

在具有业务功能和至少一种运维功能的基础上,可以降低成本、增加功能、减小占用体积。

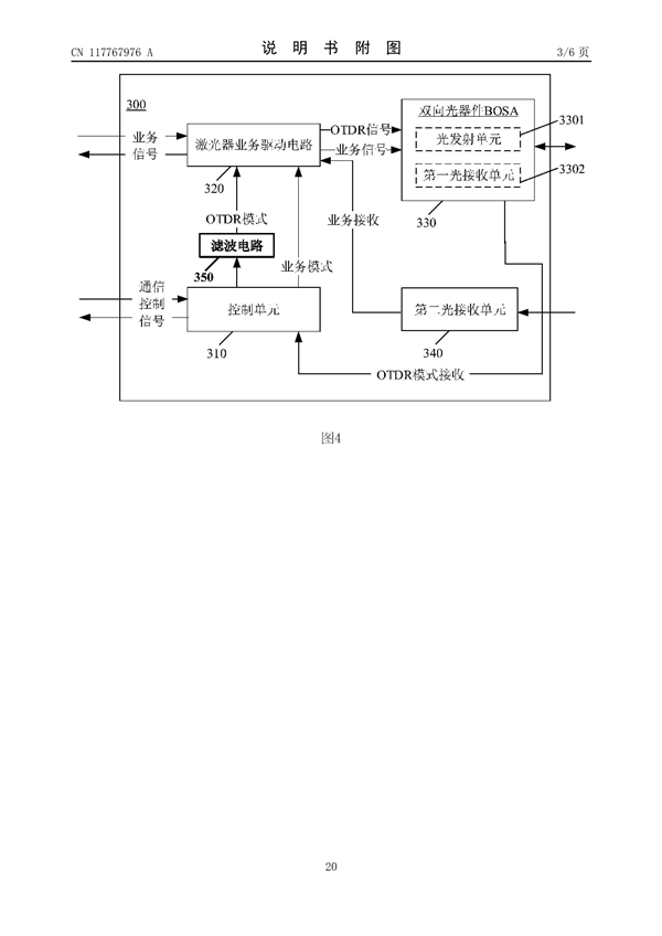
该光模块可包括控制单元、激光器业务驱动电路、光发射单元和第一光接收单元。
控制单元从多种工作模式中确定光模块的目标模式,并控制向激光器业务驱动电路输出目标模式对应的目标信号。

其中,多种工作模式包括,OTDR模式和业务模式中的至少一种,激光器业务驱动电路基于目标信号,向光发射单元输出激光信号。
第一光接收单元在目标模式为OTDR模式下,接收并向所述控制单元传输光纤中返回的第二OTDR信号。
其中,第一OTDR信号和第二OTDR信号用于进行光信号传输分析。
据介绍,光通信领域中,光纤的传输性能越好,光纤对待传输光信号的影响也就越小,有助于光信号近乎无损地传输至接收端。
因此,光纤的传输性能对于确保高质量地光传输信号具有至关重要的作用。
本文转载于快科技,文中观点仅代表作者个人看法,本站只做信息存储
本站部分文章来自网络或用户投稿。涉及到的言论观点不代表本站立场。阅读前请查看【免责声明】发布者:方应,如若本篇文章侵犯了原著者的合法权益,可联系我们进行处理。本文链接:https://www.sxhanhai.com/keji/126460.html
